锯齿指形簧片-为极限压缩空间应用设计[易密斯

发布时间:2022-09-13 文章作者:易密斯 文章来源:易密斯 73
        易密斯(EMS)电子材料有限公司是一家以屏蔽材料和导热材料为主要产品的生产厂家,处于国内技术领先地位,属于行业中的优秀企业之一。金属指形簧片是该公司提供的重要产品类型之一,通常用于各种电子产品外壳的安装结构中,能够提供良好的电磁屏蔽和导电接地功能。


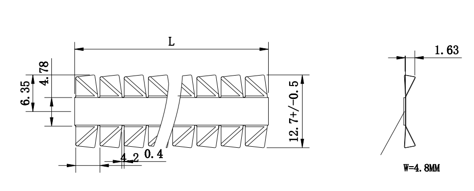
                                                   图1 扭转型指形簧片的实物图和结构示意图

       图1中所展示的是一款标准的扭转型指形簧片产品,这类型产品的指形结构采用特别的可扭转折叠设计。因此,扭转型簧片的可压缩空间非常大,推荐的压缩量范围为20%-95%,几乎可以将簧片完全折叠压扁。这也正是扭转型指形簧片的最大特点,这是一种专门为极限压缩空间应用而设计的产品,安装法兰的高度和宽度都可以降到最低,将空间利用到极致。如图1中的标准型产品,采用的是PSA压敏胶的安装方式,而为了能够应对更多的安装结构,易密斯还开发了几种常用的变形结构产品,简单介绍一下。


        双向扭转型指形簧片,从图中可以看到,在压敏胶粘合面的两侧,都设计有可扭转折叠的指形结构。相当于一次安装,起到了两条簧片的作用,再次节省了安装空间。

       直角扭转型指形簧片,这种产品在使用时的安装面和接触配合面,呈互相垂直的空间关系。有可能是电子产品结构设计上的位置关系,也有可能是配合面的空间实在过于狭小,导致没有安装面的铺设空间,不得已而采用这种结构的簧片。
       材质方面,扭转型指形簧片系列可以提供高性能型的铍速8官方网站片,也可以提供经济型的不锈钢簧片。铍速8官方网站片的优点在于拉伸强度和导电性能都要更加出色;而不锈钢簧片的优点在于,性能不算太差的情况下,价格却要低很多,属于成本效益高的解决方案。另外,铍速8官方网站片还接受各种电镀工艺的定制处理,以满足客户的表面兼容性需求,有亮镍、亮锡和镀锌铬酸盐处理。

扭转型指形簧片的主要特点:
• 指形结构采用特别的可扭转折叠设计
• 可压缩空间非常大,推荐的压缩量范围为20%-95%
• 专门为极限压缩空间应用而设计,安装法兰的高度和宽度都可以降到最低
• 双向扭转型指形簧片,在压敏胶粘合面的两侧,都设计有可扭转折叠的指形结构
• 直角扭转型指形簧片,使用时的安装面和接触配合面,呈互相垂直的空间关系
• 边缘卡装式扭转型指形簧片,主要用于不适合使用压敏胶的应用环境
• 可以提供高性能型的铍速8官方网站片,也可以提供经济型的不锈钢簧片
铍速8官方网站片还接受各种电镀工艺的定制处理,以满足客户的表面兼容性需求
 
扭转型指形簧片的典型应用:
• 屏蔽机箱,屏蔽机舱
• 屏蔽实验室,屏蔽门窗
• 电路板接地
• 高温电磁屏蔽
• 电信设备,通讯设备
• 小型便携式设备

沟通是合作的桥梁,如有需求可以随时联系我们,我们将竭诚为您服务,期待您的来电
相关新闻
  • 苏州昆山市

  • 15151610867

  • jack.wang@ksems.com.cn

免费获取铍速8官方网站片客户解决方案

优势一试便知

走进易密斯

我们致力于铍速8官方网站片领域,成为行业专家,勇做行业的领跑者。 诚信从事一切活动,成为社会快乐的创造者。

  • 15

    专注于铍速8官方网站片领域15年

  • 1000

    注册资本1000万元

  • 2000ISO

    ISO2000认证体系

官方服务热线

15151610867

公司地址

江苏省苏州市昆山市巴城镇石牌长江北路315号

公司邮箱

jack.wang@ksems.com.cn

网站速8(中国)
产品中心
在线咨询